
MXTは世界でもっとも売れているボルティングシステムで、世界で10万台以上をご利用いただいております。
1990年以来、特長的な青いハウジングは、品質、耐久性、信頼を意味し、すべての主な業界でご利用いただいております。
ローラーコースターから世界最大の橋梁まで、MXTには作業を成し遂げるのに十分な性能が備わっています。


オプション及び機能説明
特殊合金オプション
ロックアップ リリース
ノースリップ ラチェット


MXT-SAシリーズは、極限状態で での使用でもさらに長持ちさせる ために、より高度にすすんだ材質 が使われており、MXTのデザイン の信頼性を証明しています。
MXT-SAツールには5年間の無条件安全保証が与えられています。
MXTには業界初のロックアップ リリースレバーが備わっており、 使用中にツールがロックした時 に使用します。(Avantiシリー ズでもご確認いただけます)
MXTシリーズは、より力強く、よ り早い締め付けを実現させたパイオ ニアです。工具内部の第二駆動爪は、 ラチェットが逆方向へ回転するのを 防ぎます。

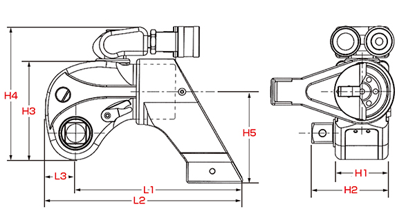
油圧トルクレンチMXY/XLT Seriesのサイズとスペック

ユニボディーハウジングは、故障の最大の原因であるひねりに最も効果的な構造で、抜群の強度と軽さを誇ります。
MXTシリーズでは360度×180度回転可能なユニスイベル・反力アームクイックリリース機構など、作業性・安全面を飛躍的に向上させました。
| 型 式 | 駆動軸 (in) | トルク値(Nm) | 重量 (kg) | L1 (mm) | L2 (mm) | L3 (mm) | H1 (mm) | H2 (mm) | H3 (mm) | H4 (mm) | H5 (mm) | |
|---|---|---|---|---|---|---|---|---|---|---|---|---|
| 最小 | 最大 | |||||||||||
| HY-P7MXT | 3/4 | 154 | 1,114 | 1.5 | 133 | 155 | 22 | 41 | 63 | 76 | 109 | 73 |
| HY-1MXT | 261 | 1,817 | 2.2 | 159 | 187 | 28 | 50 | 72 | 92 | 124 | 90 | |
| HY-3MXT | 1 | 626 | 4,379 | 4.8 | 207 | 244 | 37 | 67 | 99 | 123 | 157 | 114 |
| HY-5MXT | 1-1/2 | 1,088 | 7,578 | 7.5 | 247 | 293 | 46 | 80 | 123 | 146 | 187 | 137 |
| XLT-8 | 1,573 | 10,855 | 11.5 | 272 | 320 | 48 | 90 | 133 | 164 | 220 | 152 | |
| HY-10MXT | 2,288 | 15,617 | 14.5 | 305 | 360 | 55 | 101 | 144 | 190 | 218 | 171 | |
| HY-20MXT | 2-1/2 | 3,858 | 26,787 | 25.5 | 365 | 440 | 75 | 121 | 192 | 220 | 260 | 206 |
| XLT-25 | 5,103 | 35,210 | 31.9 | 398 | 468 | 70 | 135 | 202 | 233 | 292 | 230 | |
| HY-35MXT | 7,039 | 50,293 | 46.7 | 456 | 539 | 83 | 148 | 228 | 277 | 314 | 245 | |
| XLT-50 | 10,324 | 71,238 | 62.0 | 504 | 584 | 80 | 167 | 234 | 292 | 358 | 276 | |